平行線交通&旅行 Parallels, Transport & Travel
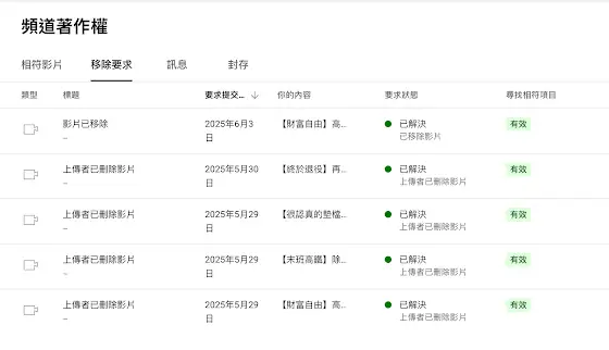
作為謹守專業、秉持熱情的內容提供者,我們不容許任何形式的侵權與盜用所有未經授權以任何方式重製、再製、重新上傳的行為,我們都會予以採取行動不論是否有營利行為,只要未經許可就是偷竊陸續送出了五支版權砲之後,這個擅自使用我們影片的頻道終於被停權令人不解的是,在第一次送出版權砲之後,當事人仍然持續上傳新的侵權內容而無視我們的著作權聲明與警告在此再次呼籲,請尊重並珍惜原創內容的製作者,也請遵守規範與法規
4 months ago (edited) | [YT] | 397
@洪鈺傑-k5x
非常喜歡你們的影片,加油!
4 months ago | 7
@王亮允-s4b
加油
4 months ago | 3
@RuiTingHuang
支持原作者,拒絕盜版~
4 months ago (edited) | 0
@NanjoWalker
加油!
4 months ago | 0
@京twnkei2024
不好意思想糾正一下 根據YT的說明 除了"已移除影片"會被記點 其餘"'上傳者已刪除影片"皆不會記點
View 1 reply
@升-b1l
平行線交通&旅行 Parallels, Transport & Travel
作為謹守專業、秉持熱情的內容提供者,我們不容許任何形式的侵權與盜用
所有未經授權以任何方式重製、再製、重新上傳的行為,我們都會予以採取行動
不論是否有營利行為,只要未經許可就是偷竊
陸續送出了五支版權砲之後,這個擅自使用我們影片的頻道終於被停權
令人不解的是,在第一次送出版權砲之後,當事人仍然持續上傳新的侵權內容
而無視我們的著作權聲明與警告
在此再次呼籲,請尊重並珍惜原創內容的製作者,也請遵守規範與法規
4 months ago (edited) | [YT] | 397